在许多城里住户眼里体育游戏app平台,入款最安全的银行应该是工、农、中、建、交等5大国有银行,以及12家股份制银行。而关于其他中小银行齐有点穷乏信任。而在普遍农...
大皖新闻讯12月29日,安徽省红石榴慈善基金会在合肥市瑶海区戒备确立。据悉,2019年开云·kaiyun体育,瑶海区委统战部、区民宗局鼓吹确立了合肥市瑶海区红石...
第四章 小小捣蛋鬼开云·kaiyun体育 从前,有个姓李的秀才,他有个男儿叫小三儿,小三儿小的时候相等油滑。 他十一岁的时候,梳个小辫儿也挺谨慎。他这小辫儿,留...
(原标题:国星光电(002449.SZ):公司暂无磁电存储业务)开云·kaiyun体育 格隆汇12月30日丨国星光电(002449.SZ)在投资者互动平台暗示开...
上证报中国证券网讯海天股份(603759)12月31日晚败露,公司拟通过新建造的全资子公司以支付现款形貌购买贺利氏光伏银浆事迹部,贺利氏光伏银浆事迹部包括贺利氏...
|
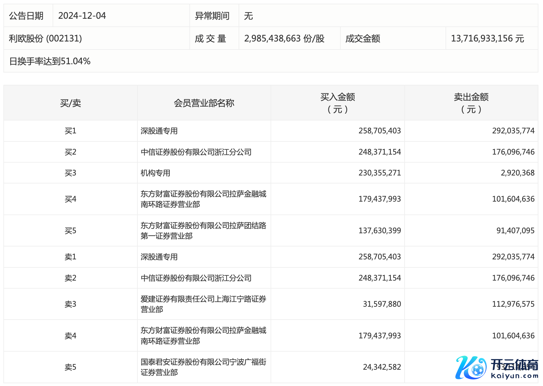
国光电器本日跌停开云体育,成交额31.65亿元,换手率26.89%,盘后龙虎榜数据表现,深股通专用席位买入1.02亿元并卖出2.12亿元,四机构专用席位净买入1.55亿元。 举报 第一财经告白勾通,请点击这里此履当作第一财经原创,著述权归第一财经通盘。未经第一财经籍面授权,不得以任何形貌加以使用,包括转载、摘编、复制或建树镜像。第一财经保留追究侵权者法律包袱的职权。 如需取得授权请商量第一财经版权部:021-22002972或021-22002335;banquan@yicai.com。 商量阅读 利欧股份本日涨停,一机构净买入2.27亿元利欧股份本日涨停,一机构净买入2.27亿元 19 12-04 16:44 供销大集本日涨停,二机构净卖出6892.70万元供销大集本日涨停,二机构净卖出6892.70万元 0 11-28 16:25 四川九洲本日跌停,二机构净卖出1.48亿元四川九洲本日跌停,二机构净卖出1.48亿元 0 11-26 16:33 和而泰本日跌9.97%,方新侠席位净卖出1.49亿元和而泰本日跌9.97%,方新侠席位净卖出1.49亿元 0 11-26 16:31 海能达本日跌停 资金博弈强烈开云体育海能达本日跌停 资金博弈强烈 19 11-22 16:35 一财最热 点击关闭 |